Каталог запасных частей к технике: МТЗ-922. Балласт
 
              
          1        
              
          2        
              
          3        
              
          4        
              
          5        
              
          6        
              
          6        
              
          6        
              
          6        
              
          6        
              
          6        
              
          7        
              
          8        
              
          9        
              
          10        
              
          10        
              
          11        
              
          11        
              
          11        
              
          12        
              
          13        
              
          14        
              
          14        
              
          15        
              
          15        
              
          16        
              
          16        
              
          17        
              
          18        
              
          18        
              
          19        
              
          20        
              
          21        
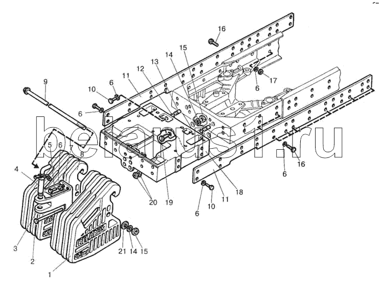
          | Позиция на иллюстрации | Заводской номер детали | Название детали | |
|---|---|---|---|
| 1 | 80-4235011-А | Груз | |
| 2 | 1025-4235012 | Заказать | Болт | 
| 3 | 85-4235025-Б | Проушина | |
| 4 | 70-4235030 | Шкворень | |
| 5 | М16х45 | Болт | |
| 6 | ШП16 | Шайба | |
| 7 | ШЧ16 | Шайба | |
| 8 | 1521-4235011-А | Заказать | Груз | 
| 9 | 1025-4235015-02 | Струна | |
| 10 | М16х32 | Болт | |
| 11 | 923-4235028 | Полоса | |
| 11 | 822-4235028 | Полоса | |
| 12 | 54-38.619 | Кольцо стопорное | |
| 13 | 50-4605027 | Заказать | Штифт | 
| 14 | ШП20 | Шайба | |
| 15 | М20 | Гайка | |
| 16 | М16х40 | Болт | |
| 17 | М16 | Гайка | |
| 18 | 923-4235016 | Кронштейн | |
| 18 | 822-4235016 | Кронштейн | |
| 19 | 70-4605036 | Заказать | Болт | 
| 20 | М18 | Гайка | |
| 21 | 40-3502084 | Шайба | 
Содержащиеся в справочниках-каталогах запасные части и детали не предлагаются к продаже, а носят исключительно информационный характер