Каталог запасных частей к технике: МТЗ-90/92. Бак топливный
70-1101005
1
1
2
2
3
4
5
5
6
7
8
9
10
11
12
13
14
15
16
17
17
18
18
19
20
21
22
23
24
25
26
27
28
29
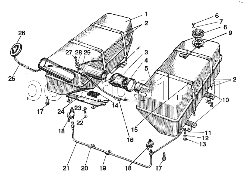
| Позиция на иллюстрации | Заводской номер детали | Название детали | |
|---|---|---|---|
| 70-1101005 | 70-1101005 | Баки | |
| 11,113-100 | 11,113-100 | Шарик | |
| 80-8101015-02 | 80-8101015-02 | Шланг | |
| 1 | 80-1101510 | Бак (пластиковый) | |
| 1 | 70-1101020 | Заказать | Бак |
| 2 | 70-1101070 | Заказать | Хомут |
| 3 | 70-1101035-Б | Заказать | Рукав |
| 4 | ХС-66 | Хомут | |
| 5 | 70-1101010 | Бак | |
| 5 | 80-1101520 | Бак пластиковый | |
| 6 | ВМ 5x16 | Винт | |
| 7 | 80-1101067 | Шайба | |
| 8 | ДУМП-21М | Заказать | Датчик уровня топлива |
| 9 | 200-3806026 | Прокладка | |
| 10 | 80-1101250-Б | Заказать | Кронштейн правый |
| 11 | М10x25 | Болт | |
| 12 | ШП 10 | Шайба | |
| 13 | М10 | Гайка | |
| 14 | 80-1101012-Б | Заказать | Прокладка |
| 15 | ПР-36-01 | Заказать | Прокладка |
| 16 | 85-1101002-02 | Трубка | |
| 17 | 822-1101081 | Заказать | Штуцер |
| 17 | 822-1101081 | Заказать | Штуцер |
| 18 | КР-25 | Кран | |
| 19 | 70-1101042 | Скоба | |
| 20 | 50-1111102-01 | Прокладка | |
| 21 | 70-1101345-Б1 | Заказать Заказать Заказать | Трубопровод |
| 22 | ШП 12 | Шайба | |
| 23 | М12x30 | Болт | |
| 24 | 80-1101280-Б | Заказать | Кронштейн левый |
| 25 | 36-1101070 | Цепочка | |
| 26 | 082-1103010 | Заказать Заказать Заказать Заказать | Пробка |
| 27 | 36-1104787 | Заказать | Болт |
| 28 | 36-1104788 | Прокладка | |
| 29 | 70-1104180 | Заказать | Трубка |
Содержащиеся в справочниках-каталогах запасные части и детали не предлагаются к продаже, а носят исключительно информационный характер