Каталог запасных частей к технике: МТЗ-821/921. Управление рулевое гидрообъемное
1
2
3
4
5
6
6
6
6
6
6
6
7
8
8
9
9
9
9
10
11
11
11
11
12
12
12
12
13
13
13
14
15
16
16
17
18
19
20
21
22
23
24
25
25А
26
27
27
27
28
29
29
30
31
32
32
32
33
34
35
36
37
38
39
40
40
40
41
42
43
44
45
46
47
48
49
50
51
52
53
54
55
56
57
58
59
60
61
62
63
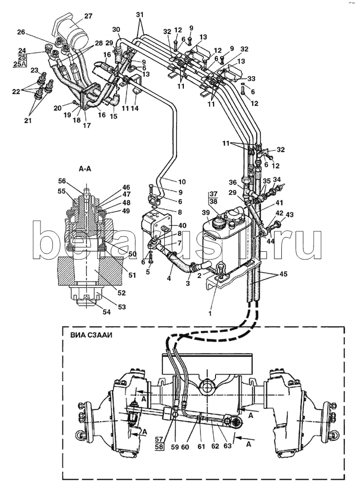
| Позиция на иллюстрации | Заводской номер детали | Название детали | |
|---|---|---|---|
| 1 | ШП 16 | Шайба | |
| 2 | М16x32 | Болт | |
| 3 | 25-40/9-C6W | Хомут NORMA TORRO | |
| 4 | 1221-3407012-03 | Шланг | |
| 5 | М8х45 | Болт | |
| 6 | ШП8 | Шайба | |
| 7 | 1025-3407030 | Маслопровод | |
| 8 | 017-022-30-1-4 | Кольцо | |
| 9 | М8х35 | Болт | |
| 10 | 923-3407020 | Маслопровод | |
| 11 | 70-3506027 | Втулка | |
| 12 | М8х30 | Болт | |
| 13 | 70-3407163-01 | Планка | |
| 14 | 922-3407018 | Кронштейн | |
| 15 | 952-3407014-05 | Шланг | |
| 16 | Н.036.83.040 | Рукав высокого давления | |
| 17 | 2522-6703034 | Прокладка | |
| 18 | 1522-3407011 | Крышка | |
| 19 | ШП6 | Шайба | |
| 20 | М6х25 | Винт | |
| 21 | 85-3407105 | Болт | |
| 22 | Ф80-3407157 | Заказать | Шайба |
| 23 | 85-3407105-03 | Болт | |
| 24 | 1523-3407016 | Штуцер | |
| 25 | 025-029-2-2 | Кольцо | |
| 25А | 680-4607140-06 | Заказать | Рукав высокого давления |
| 26 | 923-3407080-01 | Маслопровод | |
| 27 | OSPC160-ON150G0030 | Насос-дозатор | |
| 27 | LAGC 160-10/200-140М01-1008 | Насос-дозатор | |
| 27 | SUB 160-140.200-1 | Насос-дозатор | |
| 28 | 922-3407070 | Маслопровод | |
| 29 | 16-25/9-C6W | Хомут «Норма» | |
| 30 | 1025-3407060 | Маслопровод | |
| 31 | 1025-3407040 | Маслопровод | |
| 32 | 70-3407146 | Планка | |
| 33 | 922-3407018 | Кронштейн | |
| 34 | 1221-3407140-01 | Клапан | |
| 35 | 40-4607033-А-01 | Шайба | |
| 36 | 923-3407050 | Тройник | |
| 37 | 1221-1802091 | Пробка резьбовая | |
| 38 | Д18-055-А-01 | Кольцо | |
| 39 | 923-3407100-01 | Бак | |
| 40 | НШ14Д-3Л | Насос шестеренчатый | |
| 40 | НШ14Г-3Л | Насос шестеренчатый | |
| 40 | НШ14Ж-3Л | Насос шестеренный | |
| 41 | 600-3407083 | Шланг | |
| 42 | 822-3407090 | Клапан | |
| 43 | 40-4607032 | Заказать | Болт |
| 44 | 40-4607038-А-01 | Шайба | |
| 45 | 952-3407100-02 | Рукав высокого давления | |
| 46 | Ф80-3405103 | Шайба стопорная | |
| 47 | ШЧ20 | Шайба | |
| 48 | Ф80-3405102-В | Заказать | Втулка |
| 49 | Ф80-3405108 | Заказать | Чашка уплотнительная |
| 50 | Ф80-3405107 | Заказать | Втулка сферическая |
| 51 | Ф80-3405109 | Уплотнитель | |
| 52 | 102-3405103 | Заказать Заказать Заказать Заказать | Палец |
| 53 | 70-4605316 | Заказать | Гайка упорная |
| 54 | 4x36 | Шплинт | |
| 55 | М20 | Гайка | |
| 56 | 1.1.Ц6.хр. | Масленка | |
| 57 | Ф80-3407114 | Заказать | Шайба |
| 58 | Ф80-3407301 | Заказать | Болт |
| 59 | 2022-3407202 | Заказать | Переходник |
| 60 | 70-3506027 | Втулка | |
| 61 | 70-90/9-C6W | Хомут Норма TORRO | |
| 62 | 921-3407050 | Маслопровод | |
| 63 | Ц50-3405215-А-02 | Заказать | Гидроцилиндр |
Содержащиеся в справочниках-каталогах запасные части и детали не предлагаются к продаже, а носят исключительно информационный характер