Смоленск
Эль-Монте ваш город?
Да
Выбрать другой город
Написать в
WhatsApp
Написать в
Telegram
Каталог

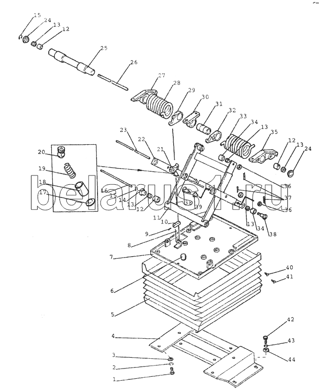
Каталог запасных частей к технике: МТЗ-80 (2002). 6800, 6805 Сиденье. Механизм ругулировки

zoom-in zoom-out enlarge shrink circle-right circle-left file-text2 info cart
1
2
3
4
5
6
7
8
9
10
11
12
12
12
13
13
13
13
13
14
15
15
16
17
18
19
20
21
22
23
24
24
25
26
27
28
29
30
31
32
33
34
34
35
36
36
37
38
38
39
40
41
42
43
44
Позиция на иллюстрации Заводской номер детали Название детали
1 ГОСТ7796-70 Болт М8-6gх20.88.35.019
2 OCT37.001.115-75 Шайба 6Т
3 ГОСТ11371-78 Шайба С6.01.08кп.019
4 80В-6807200 Заказать Кронштейн
5 80В-6800108 Чехол
6 А61.01.014 Заказать Рукоятка
7 80В-6801560 Основание
8 80В-6801240 Трос
9 ГОСТ17473-80 Винт ВМ6-6gх12.58.019
10 70-4803023 Заказать Муфта
11 80В-6801590-В Рамка
12 80В-6801512 Втулка
13 TORR012-20/9-C6W Хомут «Норма»
14 80В-6801033-01 Шайба
15 70-6801307 Шайба
16 80В-6801506-01 Ось
17 80В-6801519 Пята
18 80В-6801518 Гильза
19 80В-6801530-В Пружина
20 80В-6801521 Упор
21 80В-6801581 Собачка
22 80В-6801570 Рамка
23 80В-6801012 Ось
24 80В-6801033 Шайба
25 80В-6801505 Валик
26 80В-6801506 Ось
27 80В-6801507-01 Сектор
28 80В-6801002-01 Пружина
29 80В-6801004 Крюк
30 80В-6801001 Кронштейн
31 80В-6801003 Ось
32 80В-6801004-01 Крюк
33 80В-6801002 Пружина
34 80В-6801032 Ролик
35 80В-6801507 Сектор
36 ГОСТ5919-70 Гайка М10-6Н.6.019
37 ГОСТ397-79 Шплинт 3.2x18.019
38 80В-6801528 Заказать Ось
39 80В-6801526 Втулка
40 70-6700106 Бонка
41 70-6700107 Клин
42 ГОСТ7796-70 Болт М8-6gх20.88.35.019
43 ГОСТ11371-78 Шайба С6.01.08кп.019
44 ОСТ37.001.115-75 Шайба 8Т
Содержащиеся в справочниках-каталогах запасные части и детали не предлагаются к продаже, а носят исключительно информационный характер