Каталог запасных частей к технике: МТЗ-80. Гидрофицированный крюк
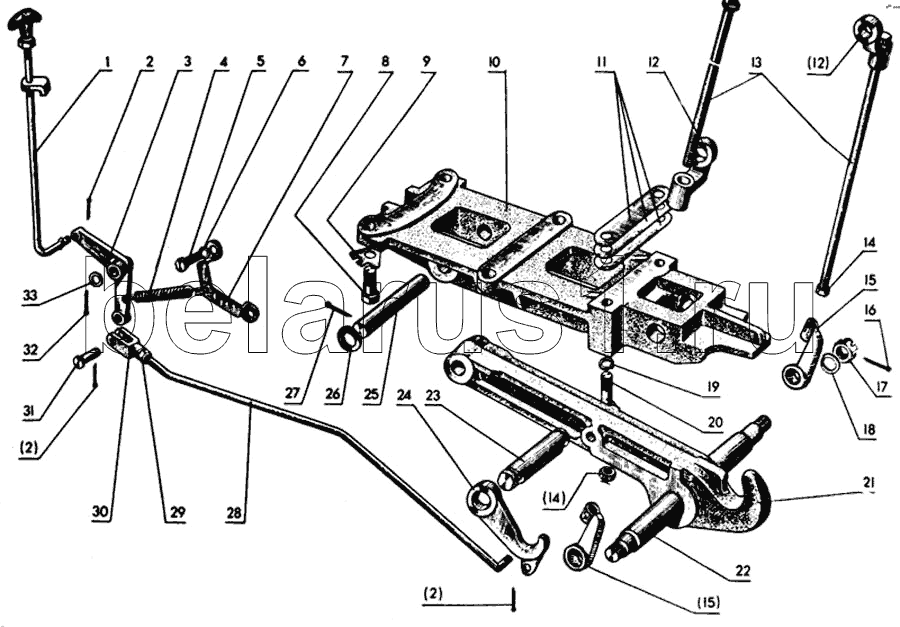
1
2
2
2
3
4
5
6
7
8
9
10
11
12
12
13
14
14
15
15
16
17
18
19
20
21
22
23
24
25
26
27
28
29
30
31
32
33
| Позиция на иллюстрации | Заводской номер детали | Название детали | |
|---|---|---|---|
| 80-2807065 | 80-2807065 | Крюк в сборе | |
| 80-2807010 | 80-2807010 | Крюк гидрофицированный прицепной в сборе | |
| 80-2807070 | 80-2807070 | Крюк с осью в сборе | |
| 70-2807039-02 | 70-2807039-02 | Пластина 0,2 мм | |
| 70-2807039-01 | 70-2807039-01 | Пластина 0,5 мм | |
| 70-2807040-А | 70-2807040-А | Тяга с вилкой и гайкой в сборе | |
| 1 | 80-2807185 | Рукоятка с фиксатором | |
| 2 | Шплинт 3,2х18-001 ГОСТ 397-66 | Шплинт 3,2х18-001 ГОСТ 397-66 | |
| 3 | 70-2807079 | Рычаг | |
| 4 | 50-1605152 | Заказать | Пружина |
| 5 | Болт М16-6gх50.88.35.019 ГОСТ 7796-70 | Болт М16-6gх50.88.35.019 ГОСТ 7796-70 | |
| 6 | Шайба 16ОТ 65Г 06 019 ГОСТ 6402-70 | Шайба 16ОТ 65Г 06 019 ГОСТ 6402-70 | |
| 7 | 70-2807081 | Заказать | Кронштейн |
| 8 | 40-3104021 | Заказать Заказать Заказать | Болт |
| 9 | 70-2807044 | Шайба | |
| 10 | 80-2807014 | Кронштейн | |
| 11 | 70-2807039 | Пластина 1,0 мм | |
| 12 | 70-2807051 | Серьга | |
| 13 | 70-2807052-Б | Винт тяги | |
| 14 | Гайка М20х1,5.6Н.6.019 | Гайка М20х1,5.6Н.6.019 | |
| 15 | 70-2807053-Б | Гайка тяги | |
| 16 | Шплинт 4х36-001 ГОСТ 397-66 | Шплинт 4х36-001 ГОСТ 397-66 | |
| 17 | Гайка М20х1,5.6Н.6.019 ГОСТ 5919-73 | Гайка М20х1,5.6Н.6.019 ГОСТ 5919-73 | |
| 18 | Шайба 20.02.19 ГОСТ 11371-78 | Шайба 20.02.19 ГОСТ 11371-78 | |
| 19 | Шайба 18ОТ 65Г 06 019 ГОСТ 6402-70 | Шайба 18ОТ 65Г 06 019 ГОСТ 6402-70 | |
| 20 | Болт М18-6gх110.109.40Х.019 ГОСТ 7795-70 | Болт М18-6gх110.109.40Х.019 ГОСТ 7795-70 | |
| 21 | 80-2807011 | Крюк | |
| 22 | 50-2807016 | Ось крюка | |
| 23 | 70-2807047 | Ось | |
| 24 | 70-2807077 | Захват | |
| 25 | 50-2807013-Б | Ось | |
| 26 | 36-3503018 | Шайба | |
| 27 | Шплинт 6,3х36-001 ГОСТ 397-66 | Шплинт 6,3х36-001 ГОСТ 397-66 | |
| 28 | 70-2807043-Б | Тяга | |
| 29 | Гайка М12х1,25.6Н.б.019 ГОСТ 5916-70 | Гайка М12х1,25.6Н.б.019 ГОСТ 5916-70 | |
| 30 | 50-3502203 | Заказать | Вилка |
| 31 | Ось 22-12С4х32 | Ось 22-12С4х32 | |
| 32 | Шплинт 3,2х25-001 ГОСТ 397-66 | Шплинт 3,2х25-001 ГОСТ 397-66 | |
| 33 | Шайба 16.02.019 ГОСТ 11371-78 | Шайба 16.02.019 ГОСТ 11371-78 |
Содержащиеся в справочниках-каталогах запасные части и детали не предлагаются к продаже, а носят исключительно информационный характер