Каталог запасных частей к технике: МТЗ-1523.4. Балласт
1
2
3
4
4
4
4
4
5
6
7
8
9
10
11
12
13
14
14
15
15
16
17
17
17
18
19
20
21
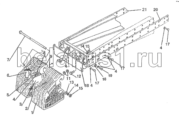
| Позиция на иллюстрации | Заводской номер детали | Название детали | |
|---|---|---|---|
| 1 | 80-4235011-А | Груз | |
| 2 | 1025-4235012 | Заказать | Болт |
| 3 | 85-4235025-Б | Проушина | |
| 4 | ШП16 | Шайба | |
| 5 | М16х45 | Болт | |
| 6 | 70-4235030 | Шкворень | |
| 7 | 1025-4235015-01 | Заказать | Струна |
| 8 | ШЧ16 | Шайба | |
| 9 | 1521-4235011-А | Заказать | Груз |
| 10 | M16x40 | Болт | |
| 11 | М18 | Гайка | |
| 12 | 70-4605036 | Заказать | Болт |
| 13 | 40-3502084 | Шайба | |
| 14 | ШП20 | Шайба | |
| 15 | М20 | Гайка | |
| 16 | 1521-4235020 | Заказать | Кронштейн |
| 17 | М16x50 | Болт | |
| 18 | 1521-4535029 | Втулка | |
| 19 | М10х60 | Болт | |
| 20 | 1222-4235012 | Заказать | Пластина левая |
| 21 | 1222-4235013 | Пластина правая |
Содержащиеся в справочниках-каталогах запасные части и детали не предлагаются к продаже, а носят исключительно информационный характер