Каталог запасных частей к технике: МТЗ-1522. Баки топливные
1
2
2
3
3
3
4
4
4
4
4
4
4
5
5
6
7
8
9
10
11
12
12
13
14
15
16
17
18
19
20
21
22
23
24
25
26
27
28
29
30
31
31
32
32
33
34
35
36
37
38
38
39
40
41
42
43
44
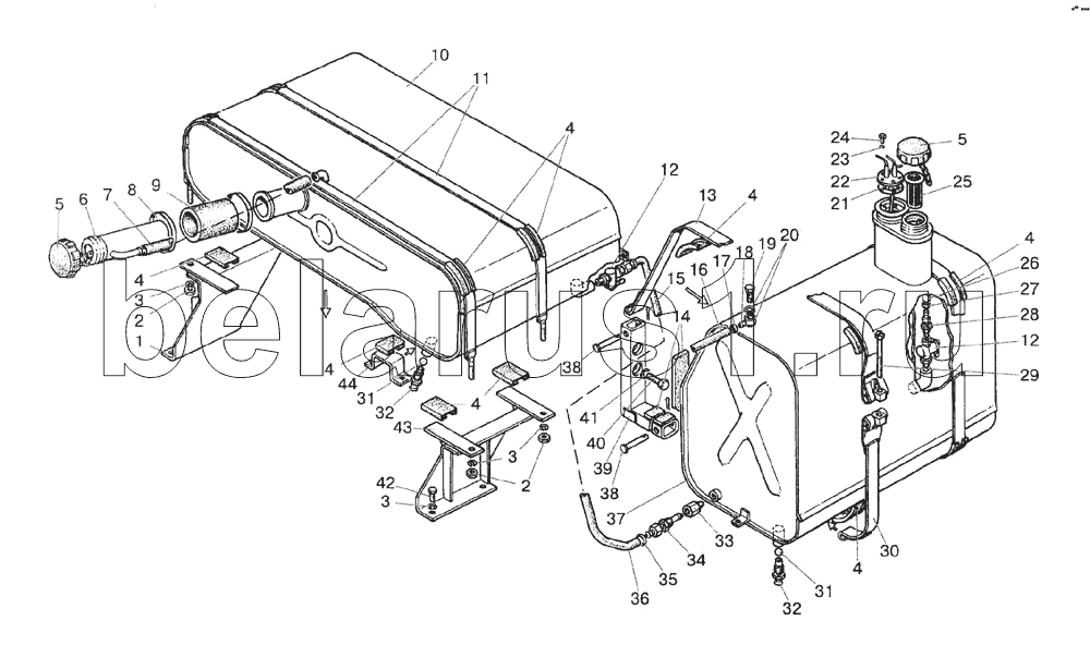
| Позиция на иллюстрации | Заводской номер детали | Название детали | |
|---|---|---|---|
| 1 | 1522-1101080 | Кронштейн | |
| 2 | М10 | Гайка | |
| 3 | ШП10 | Шайба | |
| 4 | ПР-43-02 | Прокладка | |
| 5 | 032-1103010 | Пробка | |
| 6 | 1522-1101060 | Горловина | |
| 7 | 85-1101002 | Трубка | |
| 8 | ХС-66 | Хомут | |
| 9 | 70-1101035-Б-01 | Рукав | |
| 10 | 1522-1101010 | Заказать | Бак |
| 11 | 1522-1101090 | Хомут | |
| 12 | КР-25 | Кран | |
| 13 | 1522-1101140-01 | Заказать | Лента |
| 14 | 1522-1101118 | Прокладка | |
| 15 | 3,2х18 | Шплинт | |
| 16 | 1522-1101181 | Трубка | |
| 17 | 50-3407063 | Хомутик | |
| 18 | 50-1104786 | Угольник | |
| 19 | 36-1104787 | Заказать | Болт |
| 20 | 36-1104788 Кольцо уплотнительное | Кольцо уплотнительное | |
| 21 | 1522-3806026 | Прокладка | |
| 22 | 38-0164-45-004 | Датчик уровня топлива | |
| 23 | 80-1101067 | Шайба | |
| 24 | ВМ5х16 | Винт | |
| 25 | 082-1101040 | Фильтр | |
| 26 | 1522-1101040 | Топливопровод | |
| 27 | 50-4605069 | Заказать | Втулка |
| 28 | 50-1104250 | Штуцер | |
| 29 | 1522-1101005 | Болт | |
| 30 | 1522-1101140 | Заказать | Лента |
| 31 | 11.1123722-81 | Шарик | |
| 32 | 822-1101081 | Заказать | Штуцер |
| 33 | 1522-1101205 | Штуцер | |
| 34 | 50-1104250 | Штуцер | |
| 35 | 70-1101025-03 | Трубка | |
| 36 | 50-4605069-01 | Втулка | |
| 37 | 1522-1101210 | Заказать | Бак |
| 38 | 1522-1101125 | Палец | |
| 39 | 1522-1101130 | Кронштейн | |
| 40 | М16х50 | Болт | |
| 41 | ШП16 | Шайба | |
| 42 | М10х25 | Болт | |
| 43 | 1522-1101070 | Кронштейн | |
| 44 | 1522-1101112 | Кронштейн |
Содержащиеся в справочниках-каталогах запасные части и детали не предлагаются к продаже, а носят исключительно информационный характер