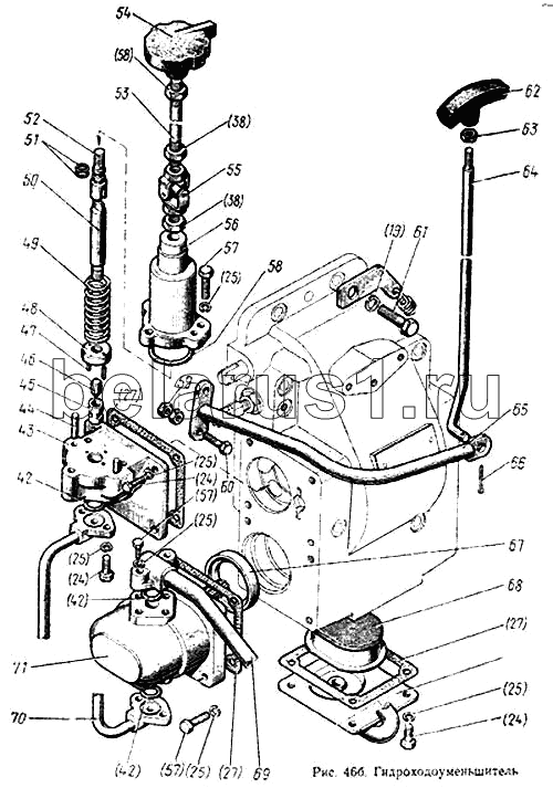
Каталог запасных частей к технике: МТЗ-100. Гидроходоуменьшитель
42
42
42
43
44
45
46
47
48
49
50
51
52
53
54
55
56
57
57
57
58
58
59
60
61
62
63
64
65
66
67
68
69
70
71
| Позиция на иллюстрации | Заводской номер детали | Название детали | |
|---|---|---|---|
| 42 | 017-022-30-1-4 | Кольцо | |
| 43 | 80-1742031 | Корпус | |
| 44 | 5Пр2,2ах25 | Штифт | |
| 45 | 80-1742032 | Седло | |
| 46 | Н8-5 | Шарик | |
| 47 | 3х15,8 | Ролик | |
| 48 | 80-1742036 | Гайка | |
| 49 | 80-1742035 | Пружина | |
| 50 | 80-1742034 | Винт | |
| 51 | 011-014-19-1-4 | Заказать | Кольцо |
| 52 | 80-1742038 | Головка | |
| 53 | 80-1742013 | Стержень | |
| 54 | А13.24.000 | Рукоятка | |
| 55 | 80-1742015 | Шарнир | |
| 56 | 80-1742037 | Крышка | |
| 57 | М8х35 | Болт | |
| 58 | 040-048-46-1-4 | Кольцо | |
| 59 | М6 | Гайка | |
| 60 | М6х30 | Болт | |
| 61 | М12х35 | Болт | |
| 62 | А13.28.000 | Рукоятка | |
| 63 | М8 | Гайка | |
| 64 | 80-4202042 | Заказать | Тяга |
| 65 | 70-1741060 | Рычаг | |
| 66 | 3,2х18 | Шплинт | |
| 67 | 80-1742026 | Проставка | |
| 68 | 80-1742040 | Фильтр | |
| 69 | 80-1742050 | Трубопровод | |
| 70 | 80-1742060 | Трубопровод | |
| 71 | НШ-10Е2 | Насос |
Содержащиеся в справочниках-каталогах запасные части и детали не предлагаются к продаже, а носят исключительно информационный характер