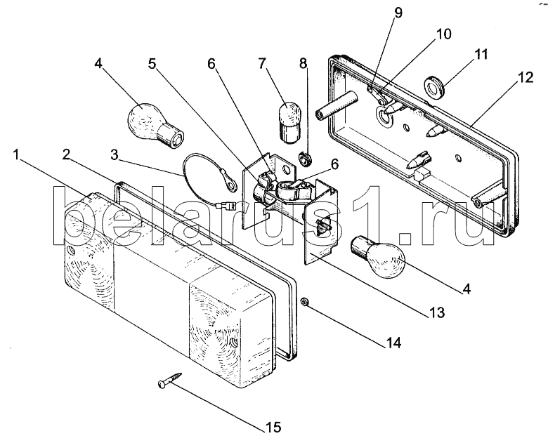
Каталог запасных частей к технике: МТЗ-1005. Задние фонари
7303.3716
1
2
3
4
4
5
6
7
8
9
10
11
12
13
14
15
| Позиция на иллюстрации | Заводской номер детали | Название детали | |
|---|---|---|---|
| 7303.3716 | 7303.3716 | Заказать Заказать | Фонарь задний |
| 1 | 89-01:1 | Рассеиватель | |
| 2 | 89-02:2 | Уплотнитель | |
| 3 | 90-03 | Провод | |
| 4 | А12-21-3 | Лампа 12В, 21Вт | |
| 5 | 89-021:2 | Патрон | |
| 6 | 89-021:3 | Пружина контактная | |
| 7 | А12-10 | Лампа софитовая тип цоколя SV8,5 | |
| 8 | TYPPA 60/90/10 Fa | Буфер резиновый | |
| 9 | 4х10 | Шуруп | |
| 10 | 112.94.04.00.000 | Пластина | |
| 11 | TYPDG 11Fa | Втулка | |
| 12 | 89-02:1 | Корпус | |
| 13 | 89-021:1 | Ламподержатель | |
| 14 | 89-01:3 | Шайба резиновая | |
| 15 | ВН 3,5х23 | Винт |
Содержащиеся в справочниках-каталогах запасные части и детали не предлагаются к продаже, а носят исключительно информационный характер